|
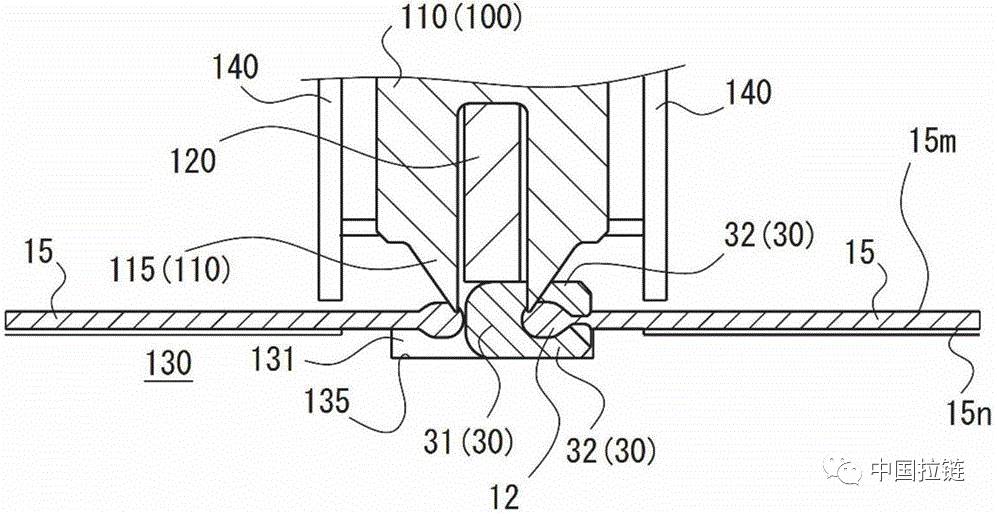
YKK公开发明专利简报(20170601-20170623)时间:2017-07-10 2017年6月1日-23日,YKK最新公开的五件中国发明专利如下表所示: 特别提示:由于发明专利从公开到审理有一定时间的公示期,期间任何企业或个人可以均提出异议,请相关企业提高知识产权防范意识,提前预防,及早应对。 详细技术方案描述分别如下: 1.编织拉链用长链的制造方法及啮合装置 技术方案:本发明的编织拉链用长链的制造方法中,在编织物的拉链带的一侧缘部编入线圈状的链牙列来制造编织拉链用牙链带,并由两条牙链带制造一条长链,包括如下工序:在通过多根导纱针和多根编织针的共同动作来编织拉链带时,通过穿有线状的单根长丝的引导件和卷挂单根长丝的钩状件的共同动作,将单根长丝弯曲成线圈状而成为链牙列,由此同时制造多条在拉链带的一侧缘部编入有链牙列的牙链带;以及使制造出的多条牙链带中的至少两条牙链带以一对链牙列相对的状态从啮合装置的引导路径通过,使已通过部分的两条牙链带中的一对链牙列啮合,由此,啮合装置由两条牙链带制造一条长链。 2.拉链用拉头 技术方案:本发明提供一种拉链用拉头,(10)具有将上翼板(21)和下翼板(22)通过引导柱(23)连结且在上翼板(21)的上表面上配置有拉攀安装部(31)的拉头主体(11)和保持在拉头主体(11)的拉攀安装部(31)上的拉攀(12),本发明的拉头主体(11)由含有氧化锆作为主成分的烧结体形成。本发明的拉头具有比以往的拉头更优异的性质,并且具有凭借以往的金属制和合成树脂制的拉头主体无法得到的外观和质感。 3.带构件、拉链和带构件的制造方法 技术方案:本发明提供一种带构件、拉链以及带构件的制造方法。拉链用带构件(20、30、40、50、60)具有带体(23)和沿着长度方向配置于带体(23)的带侧缘部(22、32、42、62)的芯线部(24、24a、24b、54a、54b、64),芯线部是通过将线构件(25、25a、25b)利用缝纫机缝制沿着带长度方向固定于带侧缘部而形成的。另外,线构件不被缝纫机缝制的针线(26、56、66)刺穿,缝纫机缝制所使用的至少1根线一边与线构件的外周面接触一边与线构件交叉,线构件被呈直线状固定。由此,通过随后将线构件固定于具备期望性能的带体(23),可容易地设置芯线部,因此,能够以较低的成本简单地制造增加了附加价值的带构件。 4.拉链牙链带及拉链 技术方案:本申请涉及一种拉链牙链带及拉链。拉链牙链带(300)具备:拉链布带(100),具有第1布带面(101)及第2布带面(102);及多个拉链链牙(200),安装于拉链布带(100)的侧缘部(110)。拉链链牙(200)包括:基部(210),夹住拉链布带(100)的侧缘部(110)的芯绳(120);及突出部(220),自基部(210)向拉链布带外侧突出。突出部(220)包括非啮合部(250)、及啮合部(260)。啮合部(260)包括颈部(230)、及头部(240)。满足0.5<W1/L1<0.6。L1表示拉链布带宽度方向的基部(210)及突出部(220)的总长度,W1表示拉链布带长度方向的基部(210)的宽度。 5.用于形成间隔部的装置以及方法 技术方案:本发明提供一种装置(400),其用于形成在拉链链条(20)中部分除去一对拉链牙链带(10)的啮合了的拉链链牙(30)的间隔部(40)。所述装置(400)包括:切断装置(100),其切断各拉链牙链带(10)的拉链链牙(30)的一对脚部(32)中的一者;解除装置(200),其设置于在拉链链条(20)或者拉链链条(20)所包含的拉链牙链带(10)的搬送方向比切断装置(100)更靠下游侧的位置,在拉链链条(20)的搬送过程中,解除一对拉链牙链带(10)的结合。本发明所要解决的技术问题在于减轻对应当残存在拉链链条的拉链链牙的物理接触程度,或者改善该物理接触的方式。 |
