YKK公开发明专利简报-2期(20170624-20170731)

来源: 中国拉链网 2017-08-03

截止2017731日,YKK拉链中国最新公开的发明专利有6件,如下表所示:

特别提示:由于发明专利从公开到授权有一定时间的公示期,期间任何企业或个人均可以提出公众意见。同时,请相关企业提高知识产权防范意识,持续关注专利技术动态,有效规避和处置可能发生的竞争威胁,从而提升企业自主创新能力与自身竞争优势。

详细技术方案描述分别如下:

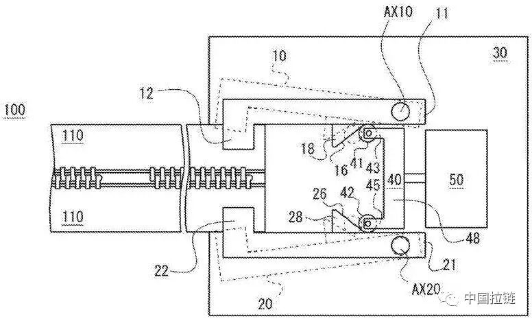
1.拉链用拉头、拉链的紧固装置

技术方案:本发明提供一种拉链的紧固装置,包括由布带、拉链牙、牙链带和拉头等构成的拉链主体,所述拉头包括拉头主体、拉片安装部和拉片,所述拉链主体的前端设有固定在布带或/和被安装体上的弹性套环,所述拉头主体的上表面上还设有一位于拉片安装部前侧的连接部,该连接部包括基部和从基部上突出的突部,当所述弹性套环套在连接部上后,弹性套环卡在突部下方的凹部中。本发明的拉链的紧固装置中,当拉头向前移动至拉链主体的前端时,固定在拉头主体上的连接部位于拉片安装部和弹性套环之间,故拉片安装部、以及拉片不会影响弹性套环与连接部的连接或解除连接的操作,使得将弹性套环套在连接部上或将弹性套环从连接部上取下的操作变得非常方便、容易进行。

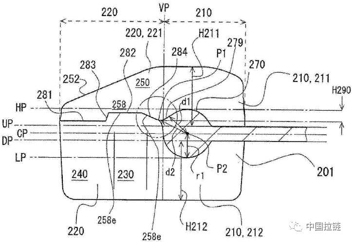
2.拉链牙链带及其制造方法、以及模具

技术方案:本发明涉及一种拉链牙链带及其制造方法、以及模具。拉链牙链带(300)具备拉链布带(100)及多个拉链链牙(200),所述多个拉链链牙(200)设置在拉链布带(100)的侧缘部(110)。拉链链牙(200)具有与沿着拉链布带(100)的侧缘部(110)的芯线(120)相邻的拉链链牙(200)对向的对向侧面(201)。拉链链牙(200)在对向侧面(201)具有设置在芯线(120)的外周的外周缘(270)。拉链链牙(200)在对向侧面(201)具有朝向外周缘(270)延伸的分模线(280)。分模线(280)在对向侧面(201)包含倾斜线(284),所述倾斜线(284)至少能够与外周缘(270)一起描画凸状起伏(290),而相对于存在有拉链布带(100)的平面(CP)倾斜。

3.用于将拉链链条的链牙列插入拉头的装置及方法

技术方案:本发明提供一种用于将拉链链条(100)所包含的各链牙列(L120)插入到拉头(180)的装置(30),其具备:第一夹持件(10),其能够夹持拉链链条(100)所包含的一侧拉链带(110);第二夹持件(20),其能够夹持拉链链条(100)所包含的另一侧拉链带(110);至少一个推压件(40),其能够推压第一夹持件(10)及第二夹持件(20)的至少一者;以及至少一个驱动机构(50),其用于使推压件(40)移动。本发明在于消除或降低装置或控制的复杂性。

4.拉链用的拉链带

技术方案:本发明的拉链用的拉链带是具备位于纬向的一端部的单层织部(T1)和在纬向上与上述单层织部相邻的双层织部(T2)的织物。并且,上述双层织部作为经线(Y)具备用于在上述双层织部的表侧露出的表面线(Y1)和用于在上述双层织部的背侧露出的背面线(Y2)。上述表面线与上述背面线相比在上述双层织部的表侧更多地露出,并且,上述背面线与上述表面线相比在上述双层织部的背侧更多地露出。上述表面线和上述背面线是不同颜色的纺前染色线。本发明为一种易于安装链牙列、且在表背呈现不同的外观、并且尽可能使颜色成为高品质的织物的拉链用的拉链带。

5.使用了拉链的产品

技术方案:本发明提供一种使用了拉链(10)的产品(PWAWB),在作为产品的包袋(P)的开口部(P2)上安装有拉链(10),在拉链(10)的一对拉链链牙列(30)上设有至少1个非啮合区域(32),在与非啮合区域(32)对应的位置设有操作部(50)。本发明为一种能够容易地将打开部打开的使用了拉链的产品。

6.成形用模具工具

技术方案:本发明提供一种成形用模具工具,是对作为主成分而含有铜和锌的铜锌合金制的金属产品(10)进行加工的模具工具(1416),模具工具(1416)含有8097质量%的WC320质量%的CoNi,且材料中的WC的平均粒径为0.58μm。模具工具为成形用的冲头(14),含有8597质量%的WC315质量%的CoNi,且材料中的WC的平均粒径为0.56μm。另一模具工具为成形用的冲模(16),含有8090质量%的WC1020质量%的CoNi,且关于材料中的WC的粒径,含有472质量%的平均粒径为0.55μm的细粒、816质量%的平均粒径为58μm的粗粒。本发明为长寿命且能够高品质地进行铜锌合金制的金属产品(10)的塑性加工的成形用模具工具。


0

推荐

  • QQ空间

  • 新浪微博

  • 人人网

  • 豆瓣

取消